

文 |张靖天
事件概述:
9月20日,网络中关于“1元即可购买一条简历”的话题(以下简称“1元简历”)迅速升温,话题源于《中国青年报》发布的《谁在售卖网络求职者“简历”》,文中引用大学毕业生求职信息被泄露的案例,暴露出一条完整的“简历收集”产业链。同时,对现有的平台监管、简历被泄露后的维权以及如何保护个人信息等问题进行深入研究和报道。
内容指出,有不少求职者在网上投递简历后,频繁接到陌生骚扰电话和短信息。据记者调查发现,知名求职网站一手简历每条1.8-2.5元,二手简历每条0.8-1.5元,其他网站每条价格0.6-1元,这种网上简历的售卖目前已形成“一条龙”产业,使众多求职者掉进信息泄露“陷阱”,如何扼制网上简历泄露?成为当日热门话题,吸引媒体和网民纷纷参与探讨。
多家媒体机构、社会各界微博意见领袖以及全国各地网民对“1元简历”话题予以关注,网络各来源在短时间内传播量急剧增高,在百度和微博热搜榜一度位居前列。

图:热搜榜截图
微博中出现#1元即可购买一条简历#、#简历被贩卖或成骚扰电话源头#等热点话题,引发媒体机构和大量网民就“信息安全”这一话题展开讨论,有关1元简历、隐私、陷阱、短信、求职、泄露、一条龙、产业等成为该话题的网络热词。

网络热词图
人民日报官方微博于20日9时前后发起话题#1元即可购买一条简历#,转评量超过4000条。此外,经济日报、中国日报、新浪、澎湃新闻、财经网等多家媒体官微发布话题消息,并引发舆论热议。

同时,针对“个人信息如何泄露”发起的投票也吸引4万余网民参与投票。从占比中可看出,大部分舆论认为个人信息的泄露渠道主要为各类社交平台,此外招聘、咨询类网站亦为信息泄露的高发地。

人民日报微博投票截图(截至20日15时)

话题传播情况:

图:各渠道来源数据量对比(数据截至9月20日15时)
截至20日15时,新京报智库对关于“1元购买简历”进行监测,网络各渠道传播情况具体为媒体网站261篇次、报刊4篇次、APP351篇次、论坛博客37篇次、微信191篇次。此外,微博网友参评数量达到9000余条。

图:截至20日15时话题舆情走势
截至20日15时,网络各渠道来源围绕该话题发布相关消息,并于20日10时前后达到峰值。从分析图中可以看出,微博来源为舆情发酵主阵地。各地区网友积极参与评论,根据博主地域分析,山东、河南、广东的微博用户对本话题的关注热情最高,此外河北、江苏四川、湖北、安徽、辽宁、黑龙江的网友活跃度也在全国处于较高位置。

图:博主地域分析
舆论分析:
本次“1元简历”事件,引发出了个人隐私这一敏感话题,舆论重点围绕“信息泄露”展开探讨。

有关“1元简历”事件在网络中衍生出多个敏感话题,包括谁在售卖网络求职者“简历”、如何防止信息泄露、保护个人信息安全、信息安全是怎么泄露的、个人隐私遭泄露后如何取证维权等,每一个问题都值得进一步探讨和解决。
不少网友发表观点:
呼吁加强监管:

点名问题机构(平台):

对此,一些权威媒体、公安机构、教育机构以及微博达人等都积极发布微博消息表达看法,提醒公众保护隐私安全。

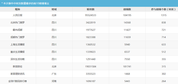
转评热度较高的前十位如下:

总结:
“1元简历”事件的本质是由求职简历暴露的个人信息泄露问题,这是容易引起舆论高度敏感的大数据时代的一大安全命题。在大数据飞速发展的今天,隐私安全绝非小事。
对此,个人首先需要提高隐私保护的意识,其次需要了解不法分子获取公民信息的方式,并从源头加以扼制,最大程度避免信息泄露,减少相继带来的各类违法事件。
同时,还需要监管部门强势介入,不断强化监管,结合社会舆论的监督,让更多不法渠道能够浮出水面,明确责任归属,依法严惩。
编辑:范娜娜 实习生:龙江兰 校对:郭利

银保监会监管思路转变,网络小贷春天要来了?
