暴走漫画关联公司申请“悲伤蛙”商标
2020-11-27 11:47

订阅
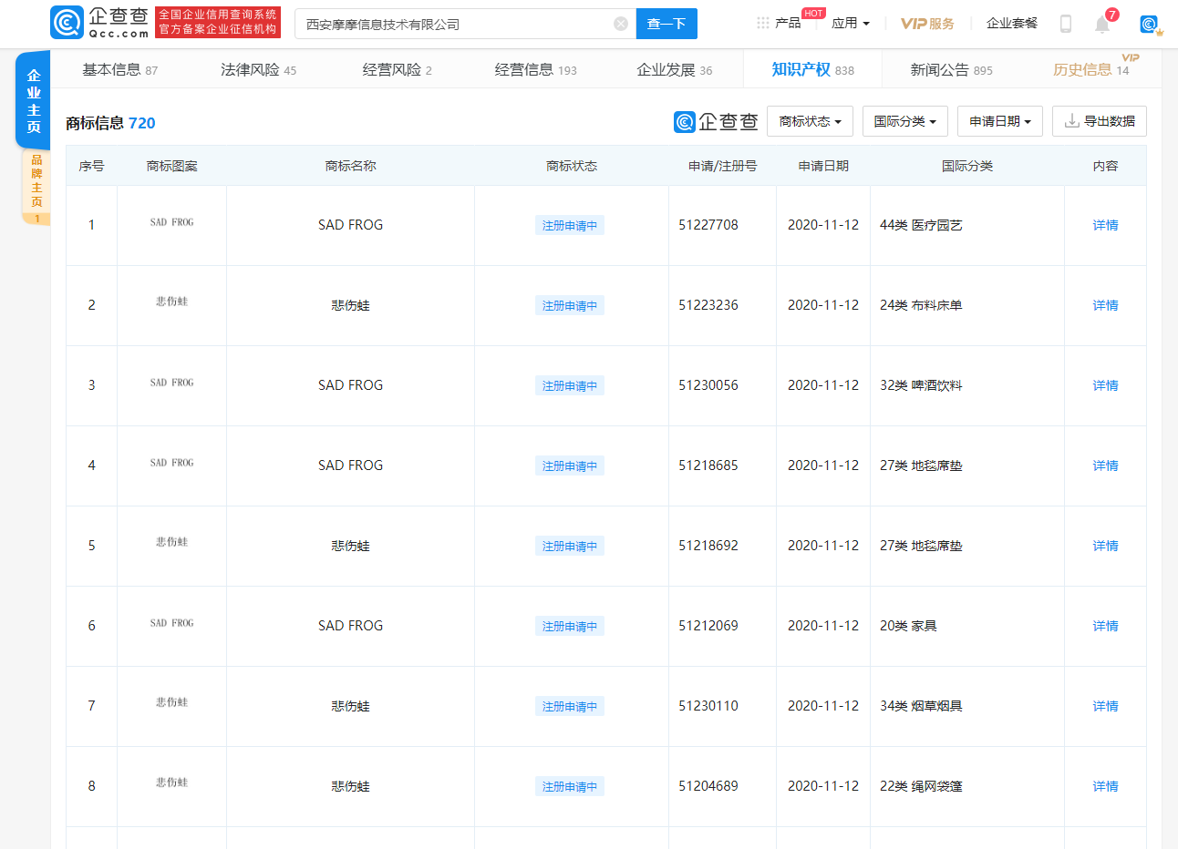
企查查App显示,近日,暴走漫画隶属企业西安摩摩信息技术有限公司新增多条商标信息,商标名称为“悲伤蛙”、“SAD FROG”,国际分类包含家具、食品、餐饮住宿等,目前部分商标状态为商标申请中、等待实质审查。企查查显示,西安摩摩信息技术有限公司成立于2010年9月,法定代表人为暴走漫画CEO任剑,注册资本5000万元,经营范围含互联网信息服务;互联网新闻信息服务;演出经纪等。企查查App股权穿透数据显示,该公司由上海暴走信息科技有限公司全资控股,优酷信息技术(北京)有限公司、创新工场维申(上海)创业投资中心(有限合伙)等间接持股。

新京报贝壳财经编辑 赵泽 校对 赵琳
