贵人鸟创始人林天福被限高消费 贵人鸟9月成被执行人标的超2亿
2020-10-23 15:19

订阅

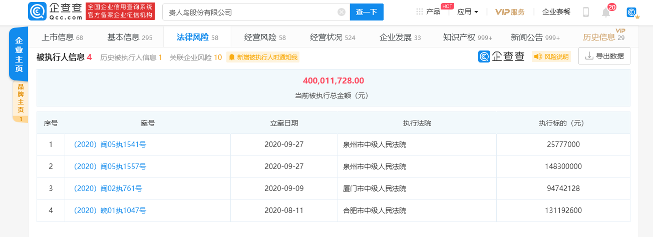
今年9月,贵人鸟股份有限公司就已被厦门市中级人民法院、 泉州市中级人民法院列为被执行人,执行标的合计约2.69亿。


企查查App显示,近日,*ST贵人(603555)及法定代表人、贵人鸟创始人林天福收到限制消费令,发布法院为厦门市中级人民法院,案号为(2020)闽02执761号,立案日期为2020年9月9日。

该限制消费令称,本院于2020年09月09日立案执行申请人国元证券股份有限公司申请执行你单位国内非涉外仲裁裁决一案,因你单位未按执行通知书指定的期间履行生效法律文书确定的给付义务,对你单位采取限制消费措施,限制你单位及你单位法定代表人林天福不得实施高消费及非生活和工作必需的消费行为。
贵人鸟股份有限公司成立于2004年7月,注册资本约6.29亿人民币,法定代表人为林天福,经营范围包括从事鞋、服装的生产、研发及批发、零售;体育用品、体育器材、运动防护用具、皮箱、包、袜子、帽的生产、研发及批发、零售等。

值得注意的是,企查查App显示,今年9月,贵人鸟股份有限公司就已被厦门市中级人民法院、 泉州市中级人民法院列为被执行人,执行标的合计约2.69亿。
校对 柳宝庆
