争议中的胡祖六:关联8家公司,任高盛高华监事、工行独董等职务
2020-08-31 14:59

订阅

新京报贝壳财经讯 近日,一篇《胡祖六,你的良心不会痛吗?》的文章引发争议,文章称,有投资者2011年买了胡祖六团队的基金,基金投资了蚂蚁金服,在以为可以大赚一笔的时候,发现该基金资产被转让给胡祖六的亲兄妹,导致100万每年的收益仅1000多元。
对此,胡祖六执掌的春华资本对该篇文章做出公开声明回应,称该侵权帖其中包含大量虚假信息并构成诽谤、侮辱,严重侵害了春华及本集团创始人胡祖六先生的合法权益。
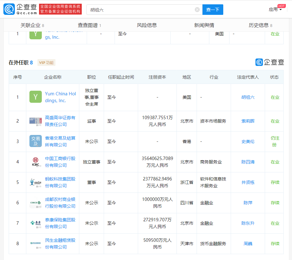
企查查APP显示,胡祖六目前共涉及8家公司,其中包含高盛高华证券有限责任公司、香港交易及结算所有限公司、中国工商银行股份有限公司、蚂蚁科技集团股份有限公司、成都农村商业银行股份有限公司、泰康保险集团股份有限公司、民生金融租赁股份有限公司等,所涉及行业包含资本市场服务、商务服务、软件和信息技术服务、金融业、货币金融服务。
编辑 徐超 校对 刘军
